Захват для бетонных колец
Захваты для бетонных колодезных колец - это вспомогательные самозажимное устройство, которые крепятся на цепные стропы. Они предназначены для подъема, перемещения, установки бетонных колец различного диаметра и толщины в вертикальном положении. Стандартно для поднятия бетонных колец применятся цепной строп с 3-я ветвями длина цепи 1,5 м., и захватами на концах веток. Фиксация, бетонного кольца в захвате, происходит под действием силы тяжести поднимаемого кольца. Захваты покрыты порошковой краской.
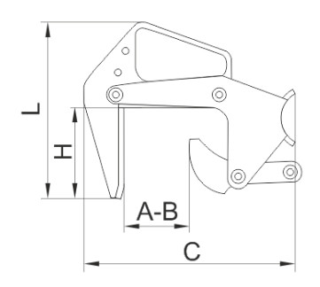
Технические характеристики| Обозначение | Г/п одного захвата в т |
Г/п комплекта из трёх захватов с цепным стропом | A, мм | B, мм | C, мм | H, мм | L, мм | Масса, кг | Производитель |
| ЗБКВ-0,8-40-130 | 0,8 | 1,6 | 40 | 130 | 330 | 140 | 272 | 8,89 | РФ |
| ЗБКВ-1,0-40-130 | 1,0 | 2,0 | 40 | 130 | 330 | 140 | 271 | 14,8 | РФ |
| ЗБКВк-1,5-40-120 | 1,5 | 3,0 | 40 | 120 | 11,0 | Китай | |||
| ЗБКВ-1,6-40-130 | 1,6 | 3,2 | 40 | 130 | 345 | 120 | 326 | 16,8 | РФ |
![]() |
![]() |
![]() |
Захват для изделий из бетона - это вспомогательные устройства, которые крепятся на стропы грузоподъемного оборудования. Они необходимы для надежного крепления и безопасного перемещения колец и других изделий из бетона. Бетон – один из наиболее тяжелых материалов, используемых при возведении различных конструкций, конструкции из него нередко имеют значительные размеры и вес, поэтому ко всем элементам грузоподъемного оборудования предъявляются строгие требования. Сложность при перемещении представляют и гладкие поверхности колец и других конструкций различной формы. Использование специальных захватов для бетонных колец позволяет сделать их подъем и перемещение быстрыми и безопасными.
Для подъема одного бетонного кольца используется 3 захвата, поэтому в технических характеристиках указывается грузоподъемность одного устройства и ее суммарное значение для 3-х захватов.
Чтобы оформить заказ, получить дополнительную информацию о грузоподъемном оборудовании, представленном в каталоге и консультацию по его выбору и эксплуатации, звоните по номерам телефонов: +375 (17) 510-23-64 или +375 (17) 510-23-65.

стоимость доставки мы включаем в счет на товары!




Струбцина монтажная
Захват струбцина универсальная (Румыния)
Захват струбцина грузоподъёмная 3СТ (РФ)






